小龙坎火锅遭假冒!你吃的是正宗的吗?

阅读:7103 2020-12-24 10:19:36

图片


云南昆明出现一家冒牌“小龙坎”火锅店,被正主小龙坎品牌管理人四川仁众投资管理有限公司告上法庭。


近日,法院判决被告停止侵权,并赔偿4万元。


图片


据了解,四川仁众投资管理有限公司在去年4月去昆明“小龙坎”火锅店点餐取证,对店内环境、餐具、菜单以及发票等进行拍照。


这家冒牌“小龙坎”从户外灯箱、宣传射灯、菜单、餐具、到员工服饰、餐桌、餐椅都印有“小龙坎”字样,结账小票上也印有“小龙坎”字样。


四川仁众投资管理有限公司以侵害商标专用权为由起诉了昆明这家火锅店,要求赔偿。原告称在昆明授权店铺仅7家,被告不在列。庭审时,被告未到庭参加应诉。


图片


法院审理查明,被告使用的“小龙坎”字样与原告“小龙坎”注册商标仅在字形、字体排列上有细微差别,二者文字、读音、含义相同,在视觉上基本没有差别,属于相同商标;与原告“坎龙小”注册商标含义一致,“龙”字与“龙”字仅存在繁简字区别,构成近似商标。


昆明中院认为,被告的行为侵犯了原告“小龙坎”以及“坎龙小”注册商标的专用权。于是作出判决:被告立即停止实施侵害“小龙坎”以及“坎龙小”注册商标专用权的行为;被告赔偿原告经济损失及维权合理费用共计4万元。


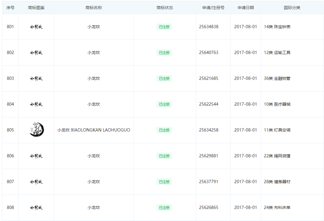
小知查询了解到,四川仁众投资管理有限公司自2014年开始申请商标注册,名下有899件商标信息,绝大部分都和“小龙坎”品牌相关,还注册了“大龙坎”、“不龙坎”、“小龍坎”等近似商标,多方位保护。


图片


早日进行商标防御性布局的好处就在于,当出现假冒品牌时,我们可以积极维权,用注册商标保护品牌。

来源:32知协
版权原作者所有,如有侵权请联系删除


相关文章
{{ v.title }}
{{ v.description||(cleanHtml(v.content)).substr(0,100)+'···' }}
你可能感兴趣
推荐阅读 更多>
推荐商标

{{ v.name }}

{{ v.cls }}类

立即购买 联系客服